Kokoonpanopiirustukseen projektiot
G4 kokoonpanopiirustukseen projektiot useasta mallista
Kokoonpano, jossa on alikokoonpanoja ja niiden osista piirustuksia, näyttää vain päätason piirustuksen yhdellä lomakkeella. Alikokoonpanojen piirustukset ja niiden osapiirustukset saadaan kuitenkin näkymään pääpiirustuksessa eri tavoilla.

- Projektiosta piilottaminen
Valitse piirustusikkunassa Projektio -> Katselusuunta -> Osoita mallista


Valitse mallista pinta tai aputaso. OK, OK. Paikoita projektio.


Valitse projektio aktiiviseksi - > Piilota osia.

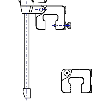
Valitse piilotettavat osat mallista:

Tai rakennepuusta:

Hyväksy keskinäppäimellä.

Ohjelma lisää piilotettavat osat listaan.
Voit valita lisää osia piilotettavaksi valitsemalla Lisää. Voit esikatsella valintaa valitsemalla Käytä. Valitse OK. Näin pelkät näkyviin jätetyt osat näkyvät projektiosta. Voit siirtää projektiota ja tehdä uusia projektioita.


"Eristetyn" osan muut projektiot ja mitoitus. Ympärille on piirretty apuviiva ja nimetty Projektio

- Ilmiasujen käyttö
Päätason piirustukseen voi tuoda muiden osien piirustuksia käyttämällä ilmiasuja. Alla olevaan kokoonpanon on tehty Ilmiasu: ADAPTERI ja piilotettu muut osat.

Piilotuksen jälkeen pitää muistaa päivittää piilotustila:

Piirustuksessa valitaan Projektio:

Uusi projektio-ikkunassa näkyy juuri luotu Ilmiasu ja valitaan Katselusuunta -> Osoita mallista.


Valitse a:edestä ja valitse pinta adapteriosasta:

Paikoita projektio ja tee muut projektiot.


Lisää isometrinen projektio ja mitoita:

- Ilmiasujen käyttö
Piirustukseen voi myös leikata ja liimata projektioita toisista piirustuksista:

Valitse projektio – Leikepöytä -> Kopioi.

Valitse Liitä sinä piirustuksessa, mihin haluat leikepöydältä liittää.



Alla olevassa piirustuksessa on esitelty kolme erilaista tapaa tuoda yhteen piirustukseen projektioita.

Avainsanat: kokoonpano, piirustus, projektio,