Skip to main content
Skip table of contents

Lisää kerros vaakarakenteeseen



  • Valitse kerros, jonka ylä- tai alapuolelle haluat lisätä uuden kerroksen.
  • Avaa tilannekohtainen valikko hiiren kakkospainikkeella ja valitse jompikumpi seuraavista:
    • Lisää yläpuolelle
    • Lisää alapuolelle
  • Lisätyllä kerroksella on samat ominaisuudet kuin valittuna olleella kerroksella.














  • Valitse kerroksen Tyyppi alasvetovalikosta.




























  • Valitse Materiaali alasvetovalikosta. Alasvetovalikossa on listattu kaikki valitulle tyypille mahdolliset vaihtoehdot.
  • Materiaalin Paksuus -arvo päivittyy automaattisesti valitun materiaalin mukaan. Tarvittaessa voit myös kirjoittaa kenttään haluamasi arvon.






















  • Liikuta hiiren osoitin parametrien luetteloruutuun ja valitse hiiren kakkospainikkeen takaa avautuvasta tilannekohtaisesta valikosta toiminto Näytä kaikki parametrit.


























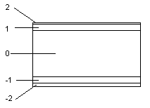
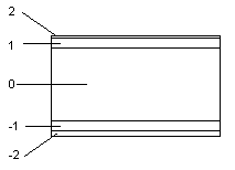
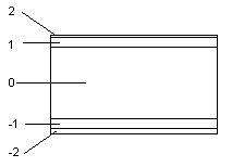
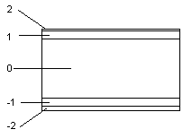
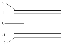
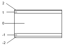
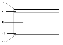
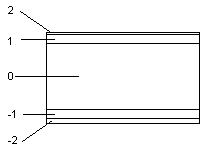
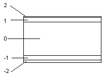
  • Kun lisäät uusia kerroksia vaakarakenteeseen, tarkista kerrosten Järjestysnumerot.
  • Kerroksen järjestysnumero löytyy parametrien luetteloruudusta osiosta Perusparametrit, kun kerros ja Näytä kaikkiparametrit on valittuna



Rakenteen peruskerroksen (runkokerros) järjestysnumero on 0. Peruskerroksen alapuolella olevat kerrokset on numeroitu negatiivisella luvulla, ja peruskerroksen yläpuolella olevat kerrokset positiivisella luvulla ykkösestä alkaen.






JavaScript errors detected

Please note, these errors can depend on your browser setup.

If this problem persists, please contact our support.